Patent & IP news for March 27, 2014

Patent Litigations

USPTO Stats

7,330
published
appl'ns
6,392
granted
patents
64
ptab
decisions

Patent & IP Blogs

post image Estimate for 4Q GDP growth in intangible revised again from www.athenaalliance.org

BEA has released its third (what was formerly called the "final") estimate of US GDP. And once again there was a large change in the growth rate for intellectual property products (IPP), i.e. research ...

Share via E–mail | Twitter | Facebook

post image Federal Circuit: An Author is not an Inventor (And Thus, a Claim of “Authorship” Does Not Raise an Inventorship Dispute). from patentlyo.com

By Dennis Crouch StoneEagle Services v. Gillman and Nextpay (Fed. Cir. 2014) This case offers an important reminder that patent ownership is largely a matter of local law – be it state or foreign-national. The result ...

Share via E–mail | Twitter | Facebook

post image The Court knows the law-- but perhaps lawyers don’t, says the CJEU from ipkitten.blogspot.com

Today’s ruling by the Court of Justice of the European Union (CJEU) in Case C-530/12 P OHIM v National Lottery Commission (plus Advocate General Bot’s conclusions, hereis about a case with ...

Share via E–mail | Twitter | Facebook

post image BREAKING NEWS: CJEU says that blocking orders are OK and do not have to be specific from ipkitten.blogspot.com

Are blocking injunctions compatible with EU law? If so, under what conditions?
In a nutshell, this is what this reference for a preliminary ruling from the Oberster Gerichtshof (Austrian Supreme Court) was all about. 
To ...

Share via E–mail | Twitter | Facebook

post image Hargreaves implementation: draft regulations on copyright exceptions laid down before UK Parliament from ipkitten.blogspot.com

Those several readers who have spent the past few years only thinking about the Hargreaves Review of Intellectual Property & Growth will promptly recall that on 7 March last UK Government announced that it was about ...

Share via E–mail | Twitter | Facebook

GEN and FiercePharma Compile Lists of Top Selling Drugs for 2013 from www.patentdocs.org

By Donald Zuhn -- Earlier this month, Genetic Engineering & Biotechnology News released its list of the top 25 best-selling drugs worldwide for 2013. GEN's list, which the journal released on March 3 (see "The Top ...

Share via E–mail | Twitter | Facebook

New Draft Text At WIPO On Protection Of Traditional Knowledge from www.ip-watch.org

This morning, the World Intellectual Property Organization committee on traditional knowledge issued a revised set of draft articles of an international instrument aimed at protecting traditional knowledge against misappropriation.Related Articles:

Share via E–mail | Twitter | Facebook

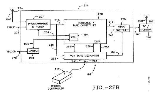
Adult TV channel blocking patents held invalid from patlit.blogspot.com

Via Paul England (a professional support lawyer at Taylor Wesing and an occasional guest blogger with the IPKat) comes the following note on a mammoth judgment delivered yesterday by Mr Justice Arnold in the Patents ...

Share via E–mail | Twitter | Facebook

Australia Accepts Indonesia WTO Dispute On Tobacco Packaging; Calls For Five Disputes To Be Joined from www.ip-watch.org

Australia yesterday took the unusual move of agreeing to the first request by Indonesia to establish a World Trade Organization dispute panel against it. The ready acceptance of the panel request was an attempt by ...

Share via E–mail | Twitter | Facebook

Loss of Sale in Competitive Bid May Establish Lost Profits Causation Without Apportionment from docketreport.blogspot.com

The court denied defendant's motion for summary judgment that the entire market value rule did not apply and that plaintiff was required to apportion damages. "[T]rying to prove but-for lost profits in a ...

Share via E–mail | Twitter | Facebook

WHO Members Discuss Engagement With Non-State Actors This Week from www.ip-watch.org

The World Health Organization this week is holding an information consultation with member states on the UN agency's engagement with “non-state actors.” The meeting follows a request by member states at the January WHO ...

Share via E–mail | Twitter | Facebook

ALJ Lord Sets 16-Month Target Date In Certain Television Sets (337-TA-910) from www.itcblog.com

On March 25, 2014, ALJ Dee Lord issued Order No. 4 in Certain Television Sets, Television Receivers, Television Tuners, and Components Thereof (Inv. No. 337-TA-910). By way of background, this investigation is based on a ...

Share via E–mail | Twitter | Facebook

US Defends Investor-State Provisions; EU Promotes TTIP Consultation from www.ip-watch.org

Investor-state provisions in trade and investment agreements, which allow private companies to sue governments for policies taken that undermine the companies' investment expectations, have come under recent scrutiny for their potential to undermine the public ...

Share via E–mail | Twitter | Facebook

U.S. patent litigation and attorneys' fees: a case study from patlit.blogspot.com

"Patent litigants beware: awards of attorneys' fees just got easier with Federal Circuit's Kilopass decision" is the title of a Current Intelligence note written for the Journal of Intellectual Property Law & Practice (JIPLP) by ...

Share via E–mail | Twitter | Facebook

Senate Judiciary Committee Takes Up, Then Tables, Patent Reform from www.patentdocs.org

By Andrew Williams -- Earlier today, the Senate Committee on the Judiciary held an Executive Business Meeting in which the Patent Transparency and Improvements Act was considered, then held over for another week. Nevertheless, several members ...

Share via E–mail | Twitter | Facebook

ALJ Pender Rules On Motion To Strike Reliance On Belatedly Identified Priority Evidence In Certain Sleep-Disordered Breathing Treatment Systems (337-TA-890) from www.itcblog.com

On March 20, 2014, ALJ Thomas B. Pender issued the public version of Order No. 13 (dated March 14, 2014) in Certain Sleep-Disordered Breathing Treatment Systems and Components Thereof (Inv. No. 337-TA-890). According to the ...

Share via E–mail | Twitter | Facebook

Some content © 2007–2014 RPX Corporation.
Terms of Service & Privacy Policy
For DMCA requests contact help@priorsmart.com.